iPhone pliable : Apple a déposé un nouveau brevet
La course au smartphone pliable est officiellement lancée. Alors que Samsung est sur le point de dévoiler son Galaxy F et que Huawei s’apprête à faire de même au MWC, Apple vient de mettre à jour ses brevets relatifs à un iPhone pliable.

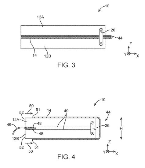
Il s’agirait d’un brevet déposé en 2011. Les experts d’Apple l’avaient mis à jour en 2016. Ils viennent de réitérer la semaine dernière. Le brevet montre des schémas pour un smartphone avec un écran pliable. Le corps de l’appareil se plierait comme un téléphone à clapet tandis que l’écran serait flexible. Les brevets dévoilent deux cas de figure pour plier le smartphone : avec l’écran à l’intérieur ou avec l’écran orienté vers l’extérieur.

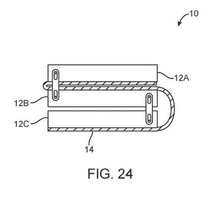
Mais Apple se distingue de la concurrence avec une solution pour plier le smartphone en trois.

Mais ce brevet ne signifie pas pour autant que Apple va sortir un smartphone pliable. Selon les dernières rumeurs, les iPhones 2019 ne devraient pas connaître de révolutions majeures. Apple attend sûrement de mieux connaître le positionnement de ses concurrents sur le sujet avant de se lancer dans la commercialisation d’un produit encore balbutiant. Mais avec cette mise à jour du brevet, Apple montre très clairement qu’il reste dans le course.
Nous avons besoin de vous !
Nous réalisons une courte enquête pour comprendre vos besoins et mieux y répondre sur BDM.
Je donne mon avis
Ouais Nintendo l’a fait avec ses Game&Watch en 1980… 😉